Sony registra patente que permitiría escanear objetos reales con el PS VR2
Los objetos serían recreados dentro de un juego.
Sony sigue registrando patentes más que interesantes en estos últimos días, y esta vez nos toca hablar de una relacionada con el flamante PS VR2, periférico recién anunciado oficialmente y que pretende llevar la realidad virtual en los videojuegos al siguiente nivel.
Según reporta el medio Game Rant, Sony acaba de actualizar una patente que se registró en verano, la cual describe a una tecnología que se podría utilizar para escanear objetos reales y generarlos dentro de un videojuego, utilizando el sistema PS VR2 para lograrlo.
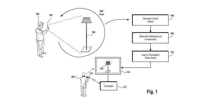
La imagen adjunta en el registro de la patente muestra como el usuario utiliza una especie de escáner para escanear los 360 grados del objeto y así recrearlo dentro del juego. Aquí te dejamos la imagen:

Eso sí, y como siempre decimos, que Sony haya registrado esta patente no significa que vayan a utilizarla alguna vez; pues es solo un derecho de reserva para una idea que les parece interesante o rentable; así que no se puede esperar que vaya a usarse a corto plazo.
¿Qué opinas de esta patente?