Ésta podría haber sido la nueva portátil de Sony
Con cierto parecido a un producto actual
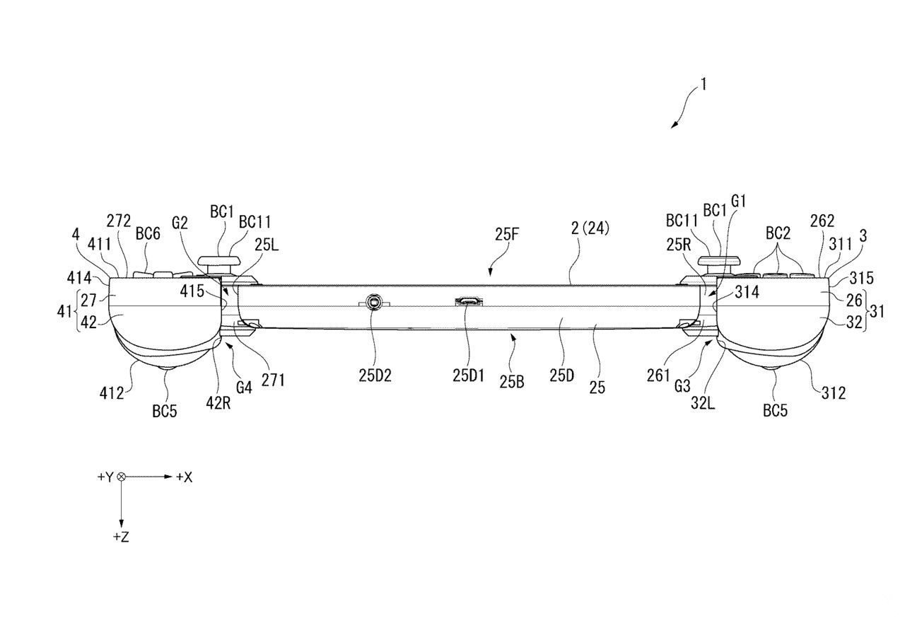
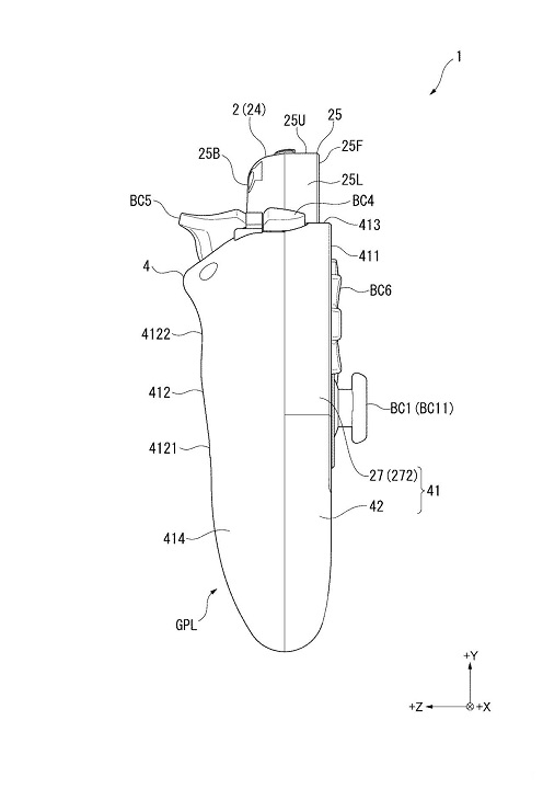
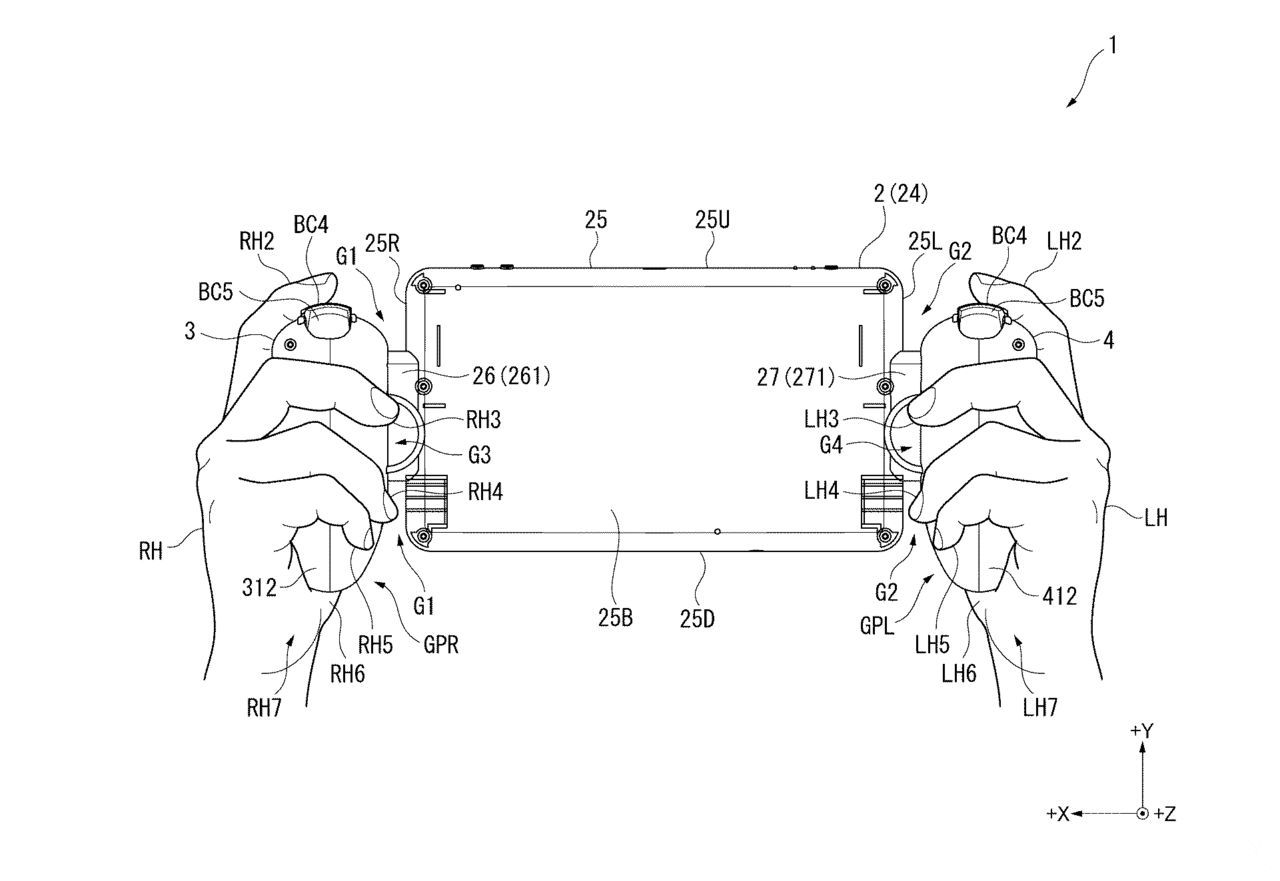
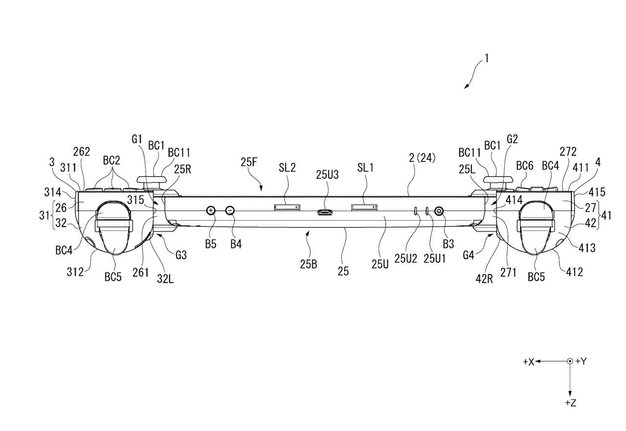
Ayer, como sin duda muchos veríais, salieron a la luz una serie de esquemas de diseño de un producto de la casa Sony. Una patente de lo que habría sido una plataforma de juego portátil, posible sucesora de PlayStation Vita y de la que hasta ahora no había noticia alguna. Como una imagen vale más que mil palabras, aquí tenéis lo que sería el concepto básico de la plataforma.

La primera impresión puede venir a decir que sería una tablet con controles a ambos lados, pero como señalan comentarios referentes a la aparición de las imágenes, es bastante posible que para esto fuera necesario que hubiera un puerto USB en cada extremo de la pantalla, por lo que esta posibilidad se antojaría complicada. Sería en todo caso una tablet especialmente diseñada para ello, o bien un dispositivo en una única pieza, aunque se antojaría algo complicado de «llevar encima» si no pueden desensamblarse los controles laterales.
Por supuesto no han faltado las opiniones que la asemejan a Nintendo Switch, la plataforma de cada vez más próximo lanzamiento de Nintendo. Desconocemos por qué Sony abandonó esta idea (los diseños son de 2015), pero es posible que dado el escaso éxito de la compañía en el mercado de las portátiles fuera de Japón, decidieran centrarse en proyectos como PS4 Pro.




